【導讀】從臺達電子的上述專利來看,其采用的專利布局策略是基于一個大的電路結構框架,在各個具體的擴展電路上去改進,以專利族1為代表,這種方式可以使得這些專利作為同族專利共同享有同一個最早優先權,另外也能彌補單個專利說明書內容不夠豐富的缺陷,便于專利在審查中的修改。這種專利布局方式在很多公司研發出了核心產品技術時通常會采用到的,比如之前所介紹的納微半導體的專利布局策略也是如此。
專利族1
首先介紹的是臺達電子以2016年7月6日為優先權日的一個專利族,其中共計包括14件INPADOC同族專利,分別布局在中國、中國臺灣以及美國。目前已授權的專利共計9件,分別是CN111211691B、TWI633754B、TWI686040B、TWI702798B、US10348286B2、US10498324B2、US10924105B2、US10826484B2、US10826479B2;處于審查中的有2件,分別是CN111969989A、CN114785094A;被駁回的有3件,分別是CN110011522A、CN107592015A、EP3742613A1。在已授權和審查中的11件專利中,目前已有9件專利被臺達電子轉移給了其子公司碇基半導體股份有限公司。
技術背景及問題:
根據該專利族技術說明書的記載,其所要解決的第一個問題是,現有技術需要采用單獨的負電源來關斷常閉型氮化鎵場效應晶體管;第二個問題是,現有的適用于硅金氧半場效應晶體管的柵極驅動電壓無法直接用于常閉型氮化鎵場效應晶體管,高電壓會損壞常閉型氮化鎵場效應晶體管。但實際上,上述專利有各自重點解決的更具體的技術問題。以下通過各專利的改進點來進一步介紹。
解決技術手段:
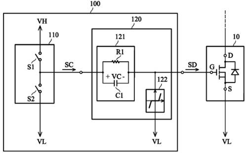
如圖中所示,該專利族解決上述問題的基礎方案包括:(1)采用了RC電路121與高壓VH、低壓VL電源配合產生正負驅動電壓,(2)在柵極端加入了電壓鉗位電路122。

圖1
然而,根據我們上一期關于松下專利的介紹可知,臺達電子在2016年所提出的這兩個技術方案也并非是其首創的,因此,其專利中必然還有更多技術細節。
技術點1——電壓鉗位電路
關于電壓鉗位電路122,專利族中展示了多種不同的實現方式,包括二極管和/或齊納二極管,下圖中給出了采用兩個反向齊納二極管串聯構成的電壓鉗位電路,該方案也正是中國同族專利CN111211691B獨權1所授權的技術方案。

圖2
技術點2——RRC電路
專利族中還展示了RC電路的多種變形實施例,通過在不同位置加入第二電阻構成RRC電路,可以實現對過沖電壓以及下沖電壓的改善,如下圖所示,這些方案則是同族專利US10498324B2獨權所保護的主要點。

圖3
技術點3——單向導通元件
在基礎方案的基礎上,專利族中的部分專利進一步在RC電路上并聯連接了諸如二極管的單向導通元件,有助于有效抑制柵極驅動信號的震蕩現象,進而避免開關元件的誤導通。代表授權專利包括US10826479B2,TWI686040B,TWI702798B。

圖4
技術點4——電容放電電路
該技術點是美國專利US10826484B2所保護的重點,其主要采用了如下圖中所示的波形轉換電路120,其中加入了隔離單向導電器件124以及一個PNP晶體管Q1。隔離單向導電裝置 124 單向提供高電平VH,而 PNP晶體管Q1則是在控制器提供低電平VH時被導通,使得電容C1能夠通過電阻R放電至低電平VL2。

圖5
以上就是臺達電子在該INPADOC同族專利中所涉及的一些技術改進點的介紹。可以看到,臺達電子所采用的策略是基于一個大的基本技術方案,在其基礎上再進一步加入不同的變形示例,并解決更具體的技術問題。這種專利布局策略一方面可以使得專利族內的各個專利的方案都很豐富,另一方面也能讓后續專利享有在先更早的優先權,都是能夠更有利于專利授權的。
專利族2
該專利族的最早優先權日為2020年01月22日,包括兩件已授權專利US11463082B2
和TWI754522B,一件審查中的專利CN113162591A,三件專利目前同樣已被臺達電子轉移給了其子公司碇基半導體股份有限公司。
技術背景及問題:
該技術應用于采用負電壓進行關斷的常閉型氮化鎵場效應晶體管柵極驅動電路中,主要解決的問題在于如何防止柵極驅動電路在啟動過程中耦合來自其周圍電路的噪聲干擾,使得開關元件得以正確的被驅動。
解決技術手段:
如下圖所示,該專利在臺達電子原有的基礎電路架構上增加了一個連接到晶體管柵極端的開關S3。在其給出的第一個方案中,開關S3僅于電路啟動時導通一次,隨后第三開關S3維持關斷狀態,工作過程如圖6所示

圖6
由于常閉型氮化鎵場效應晶體管閾值較低的緣故,在圖7中沒有開關S3時,在柵極驅動電路啟動時,晶體管的柵源極電壓VGS直接變為正電壓,更容易導致噪聲耦合至柵極驅動電路,造成晶體管誤導通。而具有開關S3時,其在第一個周期內導通,將柵極接地,此后使得用于導通晶體管的驅動信號直接從負電壓VGS開始啟動,避免了噪聲耦合帶來的誤導通問題。

圖7
另外,專利中還給出如下圖所示的另一種控制開關S3的方案,除了在驅動電路啟動的時間之外,開關S3在每次S2導通之后且S1導通之前的階段會被導通,使得晶體管的VGS電壓從負電壓恢復到低電平VL的狀態,且S3的導通時長可以被設計得比下圖中的更長(專利說明書中附圖5的補充方案)。雖然專利中未明確該方案的作用,但從其波形圖中可知,這樣控制一方面能降低晶體管導通瞬間的電壓變化率dv/dt,另一方面如果開關S3每次導通周期更長,則能降低驅動電路的功率損耗。

圖8
看到這,一些讀者可能就會發現這種構思與英飛凌在GaN EiceDRIVER? IC中所采用的方法是相似的(關于英飛凌相關專利的介紹可參考文章末尾處的前期公眾號文章鏈接)。當然,臺達電子的專利中電路實現方式不同,且主要功能仍然在于避免驅動電路啟動時的噪聲干擾。另外,該專利中還有更多的變形實例,考慮篇幅原因,在此就不再一一列舉了。
總結
從臺達電子的上述專利來看,其采用的專利布局策略是基于一個大的電路結構框架,在各個具體的擴展電路上去改進,以專利族1為代表,這種方式可以使得這些專利作為同族專利共同享有同一個最早優先權,另外也能彌補單個專利說明書內容不夠豐富的缺陷,便于專利在審查中的修改。這種專利布局方式在很多公司研發出了核心產品技術時通常會采用到的,比如之前所介紹的納微半導體的專利布局策略也是如此。
另外,臺達電子在這種電路專利改進上還給出了一個很好示例,尤其以專利族2為代表。從專利族2的電路結構上來看,其改進點僅僅是在原有方案上加入了一個開關S3,看似十分簡單,但專利重點在于開關S3的具體控制策略,在實施例中給出了多種控制策略,最后還展示了開關S3與RC電路位置的不同配合從而帶來不同的技術效果。由此可見,在電路相關的專利創新中,電路本身的改進并非一定相對于現有技術有多復雜,通過結合控制策略能夠使得方案更加完善,技術效果也更加明確。
作者簡介:
龐濱洋,超凡知識產權檢索分析師,具有7年知識產權從業經驗,擅長集成電路領域的專利檢索與分析。
免責聲明:本文為轉載文章,轉載此文目的在于傳遞更多信息,版權歸原作者所有。本文所用視頻、圖片、文字如涉及作品版權問題,請聯系小編進行處理。
推薦閱讀:




